50 Beaumont Ave, Newton MA  02460-2331 exterior

50 Beaumont Ave Newton, MA 02460 / 2331

Residence for Single Family

(UPDATED: 08/18/2025)
  • 4 Beds
  • 3 Baths
  • 4.268 square feet
Property Report

Information about property on 50 Beaumont Ave, Newton MA, 02460-2331. Find out owner contacts, building history, price, neighborhood at Homemetry Address Directory.

Property Details

As is shown in our records this property is based at 50 Beaumont Avenue, Newton, Massachusetts.

Facts

  • Built in 1945
  • Property use Single Family
  • Lot size 9,090 sqft
  • Effective area 4,068 sqft
  • Gross building area 4,268 sqft
  • Building type Residential
  • Rooms 8
  • Bedrooms 4
  • Stories 2
  • Exterior condition Average
  • Trim Half Wall
  • Foundation type Concrete
  • Roof material Slate
  • Fuel type Oil
  • Air conditioning Central
  • Frontage 95 feet
  • Basement area 988 sqft
  • Porch area 200 sqft
  • Enclosed porch area 104 sqft
  • Attached garage area 400 sqft
  • Heating & Cooling
  • Heat type Steam
  • Exterior Home Features
  • Exterior walls Stone
  • Roof type Gable

Features

  • Bath quality: Below Average
  • Interior condition: Good

Householders and Tenants for 50 Beaumont Ave, Newton MA

Possible residents contact details

Person Name Phone Number Additional Info
Aaron Fink
617-332-****
Dianna L Magnani Age: 57
617-969-****
Enrico C Magnani Age: 96
617-969-****
John C Mcdonald
Norma W Fink Age: 100
617-332-****
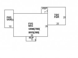
50 Beaumont Ave, Newton MA  02460-2331 plot plan 50 Beaumont Ave, Newton MA  02460-2331 floor plan 50 Beaumont Ave, Newton MA  02460-2331 aerial view

Purchase History

DateEventPriceSourceAgents
08/13/2010 Sold $845,200 Public records

Cost estimate history

YearAssessment
2016 $944,100
2015 $882,300
2014 $809,400
2013 $809,400
2012 $809,400
2011 $731,100
2010 $746,000
2009 $761,200
2008 $761,200
2007 $802,100
2006$761,300
2005$725,000
2004$669,900
2003$598,100
2002$598,100
2001$513,800
2000$469,200
1999$426,900
1998$388,800
1997$356,700
1996$339,700
1995$329,800
1994$314,100
1993$314,100
1992$331,000

Where is 50 Beaumont Ave, Newton MA located on map?

Beaumont Ave Incidents registered in FEMA
(Federal Emergency Management Agency)

To date, we have no information about incidents registered in FEMA in 2025
15 Dec 2010 Gas leak (natural gas or LPG)
Property Use —
Residential street, road or residential driveway

Properties Nearby

Street AddressResidens/Landlords
 

FAQ about the house at 50 Beaumont Ave, Newton, MA


NOTICE: You may not use RadioAwards or the information it provides to make decisions about employment, credit, housing or any other purpose that would require Fair Credit Reporting Act (FCRA) compliance. RadioAwards is not a Consumer Reporting Agency (CRA) as defined by the FCRA and does not provide consumer reports.