Purchase History
| Date | Event | Price | Source | Agents |
|---|---|---|---|---|
| 08/28/2009 | Sold | $735,000 | Public records |
Cost estimate history
| Year | Assessment | ||
|---|---|---|---|
| 2016 | $872,200 | ||
| 2015 | $815,100 | ||
| 2014 | $787,600 | ||
| 2013 | $787,600 | ||
| 2012 | $756,500 | ||
| 2011 | $716,300 | ||
| 2010 | $743,700 | ||
| 2009 | $843,200 | ||
| 2008 | $843,200 | ||
| 2007 | $903,300 | ||
| 2006 | $877,000 | ||
| 2005 | $835,200 | ||
| 2004 | $782,200 | ||
| 2003 | $698,400 | ||
| 2002 | $698,400 | ||
| 2001 | $572,100 | ||
| 2000 | $522,500 | ||
| 1999 | $475,400 | ||
| 1998 | $441,000 | ||
| 1997 | $441,000 | ||
| 1996 | $410,000 | ||
| 1995 | $327,600 | ||
| 1994 | $312,000 | ||
| 1993 | $312,000 | ||
| 1992 | $327,000 |
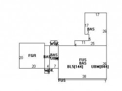
Building Permits
To date, we have no information about building permits in 2025
Oct 14, 2011
Description: Rebuild front steps
- Contractor: Robert A. Young
- Valuation: $675,000
- Fee: $125.55 paid to City of Newton, Massachusetts
- Parcel #: 81015 0004
- Permit #: 11100466
Mar 14, 2011
Description: 2nd flr bathroom repair
- Contractor: Aldor Corporation Inc
- Valuation: $672,500
- Fee: $125.09 paid to City of Newton, Massachusetts
- Parcel #: 81015 0004
- Permit #: 11030258
Dec 4, 2009
Description: Kithen renovation, install blueboard and plaster where needed, one window in kitchen, remove/replace pull down attic stairs. see enclosed discription of work to be done
- Contractor: Paul E Smith
- Valuation: $5,104,000
- Fee: $949.34 paid to City of Newton, Massachusetts
- Parcel #: 81015 0004
- Permit #: 09120127
Wendell Rd Incidents registered in FEMA
(Federal Emergency Management Agency)
To date, we have no information about incidents registered in FEMA in 2025
05 Jun 2005
Fuel burner/boiler malfunction, fire confined
Property Use —
1 or 2 family dwelling
06 Mar 2003
Rescue, emergency medical call (EMS) call, other
Property Use —
1 or 2 family dwelling
Properties Nearby
| Street Address | Residens/Landlords | |
|---|---|---|
15 Wendell Rd, Newton, MA 02459-2649 Single Family
|
Patti A Marcus, Paul A Koch | |
20 Wendell Rd, Newton, MA 02459-2610 Single Family
|
Vera Gusyatin, Eugeniy Gusyatin | |
27 Wendell Rd, Newton, MA 02459-2650 Single Family
|
India Digiovanni, Gina Digiovanni | |
32 Wendell Rd, Newton, MA 02459-2611 Single Family
|
Plamen I Bliznakov, Plamen Bliznokov | |
38 Wendell Rd, Newton, MA 02459-2611 Developable Land
|
Lily Quarmby, Thomas E Quarmby | |
44 Wendell Rd, Newton, MA 02459-2611 Single Family
|
Eleonora Ludin, Lev A Ludin | |
45 Wendell Rd, Newton, MA 02459-2650 Single Family
|
Charlotte A Kaitz, John J K Kaitz | |
50 Wendell Rd, Newton, MA 02459-2611 Single Family
|
Chantal G Rocheleau, Nicolas L Marcotte | |
53 Wendell Rd, Newton, MA 02459-2650 Single Family
|
53 WENDELL ROAD REALTY TRUST, Terry R Bard |


